Malzeme / Finish : Malzeme : SCM440 (JIS) / 34CrMo4 (DIN)
HRC 55? ye sertleştirilmiştir.
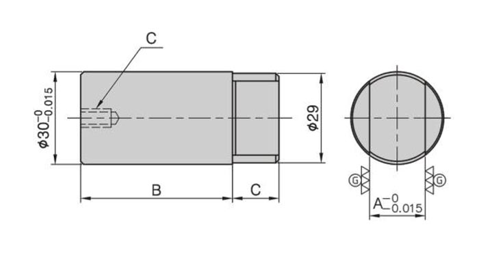
Uygulama : Çok amaçlı yer belirleyici anahtar.



Malzeme / Finish : 
Firmamız ilk olarak 1990 yılında başka bir ünvan ile ve 1996 yılında Nursan San. Ve Tic. ünvanı ile İstanbulda kurulmuştur. Halen Nursan CNC Metal İşleme San. Ve Tic. Ltd. Şti. olarak hizmet verilmektedir. Holdex bir Nursan CNC markasıdır.
Son teknoloji CNC makina ve teçhizat kullanarak özellikle CNC Torna Takım Tutucu ve Aparatları üretmekteyiz. Aynı zamanda makina aksam ve parça çeşitleri konusunda İsviçre,Almanya ve İtalya ya fason olarak doğrudan ihracatımız bulunmaktadır.
HOLDEX® Markamız adı altında ürettiğimiz CNC Takımlarından bazıları : CNC Döner Puntalar,Takım Tutucular, Pens Tutucular, Altıköşe Broş Aparatı,Çubuk Çekme Aparatı,Pens Aynaları,Dayama Aparatı,
Yumuşak Ayaklar vb.
Tüm ürünlerimiz hassas CNC Tornalar,CNC İşleme Merkeleri ve CNC Taşlama Tezagahlarımızda standartlara uygun olarak müşterilerimizin hizmetine sunulmaktadır.
DUDULLU OSB , İMES SANAYİ SİTESİ , A BLOK ,101.SOK , NO.2 , 34776
ÜMRANİYE İSTANBUL TÜRKİYE




